Bevel Gearboxes DZR Stainless, Type A, up to 42 Nm
General data: 4 sizes. Ratio either 1 : 1 or 2 : 1. Any mounting position possible.
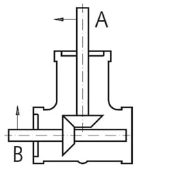
Input shaft / output shaft, speed:At both types and both ratios, the input can be at shaft A as well as at shaft B.
At ratio 1:1 the maximum speed is 1400 rpm. Ratio 2:1 can be used for gearing down and also for gearing up.
Gearing down: Input at shaft A with max. speed 1400 rpm (output speed max. 700 rpm).
Gearing up: Input at shaft B with max. speed 750 rpm (output speed max. 1500 rpm).
Housing: Stainless steel 1.4401 (V4A / AISI 316). Thick-walled, one-piece housing, fully oil-tight and dust-proof.
Gearing: Spiral teeth, hardened.
Shafts/bearing system: Stainless steel 1.4401 (V4A / AISI 316), ground and mounted on ball bearings.From size 2 with keyways.
Lubrication/maintenance: Lubricated for life, viscosity ISO VG 150.Gearboxes are maintenance free.
Angular backlash: 15 to 30 angular minutes.
Permiss. operating temperature: -18°C to +80°C.
* Permiss. radial force for FA=0.
** Permiss. axial force for FR=0.
| SKU | Transmission [i] | Size | Shaft Ø [mm] | Md2 at 50/min * [Nm] | Md2 at 1400/min * [Nm] | FR max.** [N] | FA max.*** [N] | Weight [kg] |
|---|---|---|---|---|---|---|---|---|
| 41091000 | 1 : 1 | 1 | 8 | 2,2 | 1,6 | 60 | 20 | 0,483 |
| 41091200 | 1 : 1 | 2 | 15 | 7,2 | 6,0 | 140 | 50 | 1,795 |
| 41091400 | 1 : 1 | 3 | 20 | 21 | 19 | 300 | 80 | 5,388 |
| 41091600 | 1 : 1 | 4 | 25 | 42 | 31 | 400 | 160 | 9,136 |
| 41091002 | 2 : 1 | 1 | 8 | 1,6 | 1,1 | 60 | 20 | 0,483 |
| 41091202 | 2 : 1 | 2 | 15 | 5,7 | 4,0 | 140 | 50 | 1,795 |
| 41091402 | 2 : 1 | 3 | 20 | 19 | 12 | 300 | 80 | 5,538 |
| 41091602 | 2 : 1 | 4 | 25 | 39 | 23 | 400 | 160 | 9,136 |